本文涉及降低电脑机箱内温度的装置,特别是一种电脑机箱用的电脑散热风扇装置。
现有的电脑主机机箱主要采用散热孔方式和风扇排风的方式对机箱进行散热,以保证各电脑配件工作在一个适宜的低温环境中。而上述这两种散热排放方式的工作效率比较低,往往不能满足机箱散热的需要。
实用型内容
本文的目的在于提供一种电脑机箱用的电脑散热风扇装置,主要解决现有散热孔方式和风扇排风方式散热效率低的技术问题,可充分利用机箱外的低温空气降低电脑机箱内的温度。
为解决上述问题,本文是这样实现的:
一种电脑机箱用的电脑散热风扇装置,其特征在于:它设置在电脑机箱面板上,在进、出气路上依次具有滤网、电机控制的风扇,该气路的风扇后还设有一由电机控制的涡轮增压器。

所述的电脑机箱用的电脑散热风扇装置,其特征在于:该气路的滤网与风扇之间还具有一金属孔化过滤片。
所述的电脑机箱用的电脑散热风扇装置,其特征在于:该电机控制电路还包括电源和霍尔磁控开关。
藉由上述技术方案,本文的有益效果是:
本文装置可充分利用电脑机箱外的低温空气降低机箱内的温度。若结合现有的散热孔结构和排气风扇结构,可进一步提高电脑机箱的散热效率。
附图说明
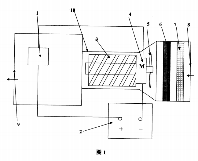
图1是本文的结构示意图。
图中:
1一霍尔磁控开关;
2一电源;
3一涡轮增压器;
4一电机;
5一风扇;
6一金属孔化过滤片;
7一滤网孔;
8一进风口;
9一出风口;
10一壳体。
请参阅图1,它是本文一种电脑机箱用的电脑散热风扇装置的结构示意图。如图所示:它设置在电脑机箱面板上,在进、出气路上依次具有滤网7、电机4控制的风扇5,该气路的风扇5后还设有一由电机4控制的涡轮增压器3。该气路的滤网7与风扇5之间还具有一金属孔化过滤片6。该电机4控制电路还包括电源2和霍尔磁控开关1。
使用时,由涡轮增压器8进行旋转增压,所增压的机箱外的低温空气经过滤网和金属孔化过滤片二级过滤,且增压动作是在霍尔磁控开关控制为电机驱动涡轮达到。这样,可以确保机箱外的低温空气,不断进入电脑机箱,使箱内温度降低。而且该滤网7和过滤片6可对进入机箱内的空气进行过滤,避免灰尘进入。
另外,该装置在安装时若能与散热孔或电脑散热风扇保持在同一直线上,则散热的效果更好。
综上所述仅为本文的较佳实施例而已,并非用来限定本文的实施范围。即凡依本文申请专利范围的内容所作的等效变化与修饰,都应为本文的技术范畴。