本文涉及电脑散热技术领域,具体地讲是一种分体式无风扇电脑散热装置。
众所周知,电脑主机发出的噪音令人很烦恼,对此人们开发了多种企图降低CPU及电源风扇噪音污染源的免费看片APP大全。其方式基本为三种:
1、 加大风扇直径,保证空气流量,降低转速;
2、用水冷装置代替风扇降温;
3、给发热主体如CPU和显卡加装导热性能更好的材料,增加散热面积,此外还有在机箱上做加厚钢板和增加其整体性,以减少共振等的免费看片APP大全。

但是,上述方法效果并不理想,并不能给散热器去掉风扇。甚至目前,市场上最新型的价格昂贵的CPU“无风扇散热器”,也因其满负荷:工作时温升太高,而不能单独胜任其工作,必须有足够的机内风扇通风才可适用;至于给机箱加装消音层、加厚钢板等方法,在降音效果上显得微乎其微。总之,无论是“水冷头”散热器,还是“无风扇”散热器,其固定连接方式给检查、维修、更换和清扫内部机件带来不便,且结构复杂、材料及工艺繁多、加工成本高、影响周边散热,因而没有取得让人满意的结果。而“水冷头”式散热器还因其液体外漏,得不到广泛应用。
本文的目的是克服上述已有技术的不足,而提供一种分体式无风扇电脑散热装置,主要解决了现有的电脑噪音及其结构复杂等问题。
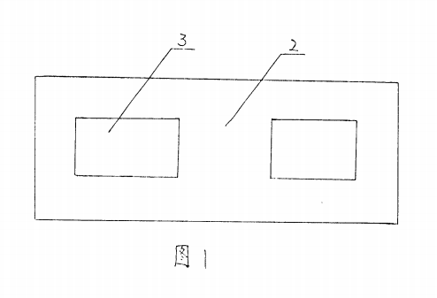
为了达到上述目的,本文是这样实现的:分体式无风扇电脑散热装置,其特殊之处在于它包括散热体2,在散热体2上设电脑散热元件安装固定位3,可安装在机内,也可在机外。
本文的分体式无风扇电脑散热装置,其所述的散热体2上设机箱壳体1,机箱壳体1可为左壳,也可为右壳,还可左壳、右壳同时使用,从而与机箱组成-一个完美的整体。
本文的分体式无风扇电脑散热装置,在机箱壳体1与散热体2之间设盘管5,盘管5通过油泵接口8与油泵连接,在盘管 5的顶部的机箱壳体1.上设储液箱6,在机箱壳体1的底部设防漏引流槽7,在机箱壳体1上设通风窗9,机箱壳体1可为左壳,也可为右壳,还可左壳、右壳通过盘管5串联使用,从而与机箱组成一个完整的整体。
本文的分体式无风扇电脑散热装置,其所述的盘管5最好为S形:盘管5可设在盘管板4上。
本文的分体式无风扇电脑散热装置,其所述的散热体2外设散热片13,一般用于机箱内。
本文的分体式无风扇电脑散热装置,其所述的散热体2内设隔板10,在散热体2顶部设顶盖11,顶盖11上设注液口或封头12;其所述的隔板10上设扇式油泵14。
本发明的分体式无风扇电脑散热装置,其所述的电脑散热元件安装固定位3可为一个或多个;所述的散热体2可为带安装平面的任意体。
本文所述的分体式无风扇电脑散热装置与已有技术相比具有突出的实质性特点和显著进步:
1、由于采用分体式,使现主板上的其它元件,不再受CPU等热源影响,将产热元件集中,从而使散热更趋合理;
2、体积小,结构简单,易于加工,成本低;
3、可悬挂于机箱内的任意空旷处,使箱内布局合理,甚至可固定于箱外,以更利于散热;
4、减少了箱内共振,系统工作更趋稳定;
5、无液体外漏的担忧。